90PGA

For use in the 90IP Instrumentation Platform

Specifications

Ordering Information

 


Download Datasheet PDF File


Download
Operations Manual

Download Adobe Acrobat Reader
Download Acrobat Reader

90PGA
Dual Channel Programmable
Amplifier Slot Card
 

Purchase

 

 

Description

For use in the 90IP Instrumentation Platform, each 90PGA slot card provides design engineers with two channels of precision, low noise and distortion programmable amplifiers with up to 60 dB of adjustable gain in 0.50 dB steps over a 1 MHz bandwidth.

Front panel mounted BNC’s offer easy access for connection of signal input and output. Other features include differential or single-ended input, AC or DC-coupled input, single ended output, LED clipping indicators and fine adjustment of DC offset.

Features:

  • Selectable single-ended or differential input, AC or DC coupled.
  • Gain/phase matched channels
  • LED clipping indicators
  • Memory storage for up to 9 set-ups/channel
  • Input noise 12 nV/ typ.
  • Programmable gain, 60 dB in 0.5 dB steps
  • Input protection to 150 Volts P-P
  • Outputs able to drive full range into 50 W.
  • Hard front panel with remote GPIB and RS232 interfaces provided.

 

 

Providing Real World analog and DSP solutions for the following industries:

  • Health
  • Space
  • Defense
  • Science
  • Engineering
  • Technology

Applications

  • Sound Measurement
  • Noise Testing
  • Audio Communications
  • Medical Research
  • Industrial Process Control
  • Seismic Analysis
  • Vibration Analysis

 


90PGA Slot Card

Dual Channel Programmable
Amplifier Slot Card
For 90IP Instrumentation Platform

Specifications

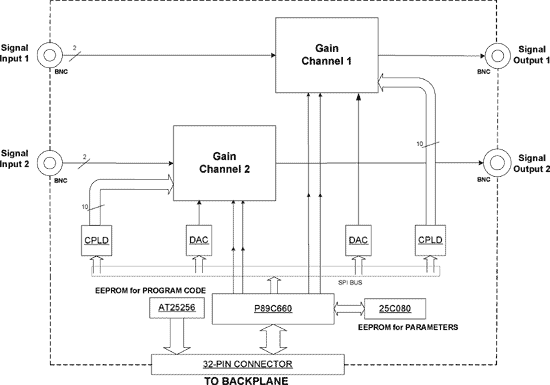
Figure 1 – Signal Path Block Diagram


90PGA Slot Card

Specifications @ 25oC

Dual Channel Programmable
Amplifier Slot Card
For 90IP Instrumentation Platform

Input Characteristics
  Gain Settings:
Tolerance
 0 to 60 dB in 0.5 dB steps ±0.05 dB
Input Impedance:
 
   Differential
2 M shunted by 47pF
Signal Bandwidth
-6.0 dB @ 1.0 MHz@ +60 dB
   Single Ended
1 M shunted by 47pF
Amplitude Match ±0.1 dB @ DC
Coupling
AC or DC
Gain Accuracy@ DC
±0.1 dB
Maximum Input Signal
±10V pk @0 dB
Input Voltage:
 
Amplifier Characteristics
  Linear Differential
20V p-p (Gain Set at 0 dB)
Distortion @ 1 kHz
<-100 dB typ. @ 3.0 Vrms
  Max. Safe Differential
Any Continuous value between ±40V
Noise Density
 12 nV/ typ.
 14 nV/ max.
Bias Current
1 nA typ., 2 nA max.
Common Mode Rejection Ratio
with 2k source unbalance
and 0 dB gain
>60 dB, dc to 50kHz
General
Cross Talk between Channels
<-100 dB @ 1 kHz
Output Characteristics
Operating Temperature
0ºC to 50ºC
Full Power Bandwidth
dc to 1.0 MHz
Offset Temperature Coeff. 10mV/ºC RTI
Small Signal Bandwidth
(1V pk-pk)
1.0 MHz @ -6dB
Humidity 0 to 95%, non-condensing
Slot Card Dimensions 100 x 220 mm (3U)
Related Output
10V p-p for RL = 50
Weight 0.60 Lbs., (0.3 Kg.)
20V p-p for RL = 2k
Output Protection
 short circuit to Ground
Output Impedance
50  
Offset Voltage Adjustable to zero,
in 1 mV steps
   
   

 


Ordering Information

90PGA


We hope the information given here will be helpful. The information is based on data and our best knowledge, and we consider the information to be true and accurate. Please read all statements, recommendations or suggestions herein in conjunction with our conditions of sale which apply to all goods supplied by us. We assume no responsibility for the use of these statements, recommendations or suggestions, nor do we intend them as a recommendation for any use which would infringe any patent or copyright.


Frequency Devices, Inc.
Your engineering partner for signal conditioning
  927 Fosse Rd
Ottawa, IL 61350


e-mail: sales@freqdev.com

 

Phone: (815) 434-7800

Copyright © 2001-2014 Frequency Devices
All Rights Reserved